PусскийОграничители перенапряжения высокого напряжения: необходимая защита систем возобновляемой энергетики в 2026 году Ограничители перенапряжения из металлооксида в полимерном корпусе защищают солнечные фотоэлектрические и ветряные турбины от молний и перенапряжений. Решения Fenarro, сертифицированные IEC, обеспечивают легкую, устойчивую к загрязнению защиту с высоким поглощением энергии. Идеально подходит для солнечных ферм на Ближнем Востоке и ветровых проектов в Юго-Восточной Азии. Спрос на возобновляемые источники энергии растет со среднегодовым темпом роста 5%. Свяжитесь с Fenarro для получения надежной защиты от перенапряжения.
БЖХ-110
Fenarro
| штат: | |
|---|---|
| Количество: | |
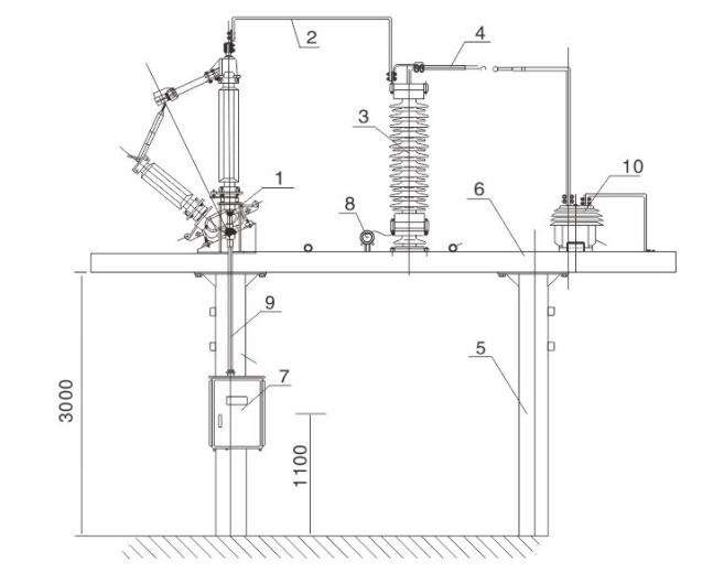
Оборудование серии BZJ-110/220 специально разработано для защиты от перенапряжения в нейтральной точке трансформаторов на подстанциях 110 кВ и 220 кВ.
Основные моменты:
Разработан в соответствии с DL/T620-1997 и противоаварийными мерами Государственной энергосистемы 2005 года..
Обеспечивает защиту незаземленных нейтральных точек трансформатора..
Доступен в двух конфигурациях:
Решение только с искровым разрядником
Параллельная работа искрового разрядника и разрядника для улучшенной скоординированной защиты.
Гибкая сборка с разъединителем и разрядником , позволяющая использовать ручные или электрические приводы.
Собран на заводе и полностью протестирован перед поставкой, при необходимости можно легко выполнить повторную калибровку на месте.
Компактная конструкция с упрощенной установкой, настройкой и эксплуатацией.
Подходит для эффективно заземленных сетей напряжением 110 и 220 кВ.
Температура окружающей среды: -40℃ ~ +40℃
Высота: ≤ 2000 м
Сейсмостойкость: ≤ 8 градусов
Не содержит легковоспламеняющихся, взрывоопасных или агрессивных сред.
Способен выдерживать внешние климатические условия.
Интегрированная конструкция : объединяет искровой разрядник, трансформатор тока, разъединитель, разрядник, клеммную коробку и опорную раму в одном компактном блоке.
Гибкие схемы защиты : поддержка только искрового разрядника или параллельной защиты искрового разрядника + разрядника.
Надежная работа : все электрические и механические параметры перед поставкой проверяются на заводе.
Простота установки : упрощенная конструкция, удобна для размещения и обслуживания подстанции.
Настраиваемая работа : разъединитель доступен с ручным или электрическим приводом.
Высокая надежность : разработан для предотвращения аварий на заземление и перенапряжения, повышая безопасность подстанции.

| Серийный | номер | Название | Количество | Примечания |
|---|---|---|---|---|
| 1 | Разъединитель GW13-72,5 кВ | набор | 1 | |
| 2 | Подключение медной шины | кусок | 1 | |
| 3 | Грозозащитный разрядник 72,5 кВ | единица | 1 | |
| 4 | Разрядный зазор | набор | 1 | |
| 5 | Поддержка установки | кусок | 2 | Цементный столб или стальной столб |
| 6 | Каркас кузова | кусок | 1 | |
| 7 | Ручной или моторный приводной механизм | единица | 1 | Согласно требованиям пользователя |
| 8 | Прибор мониторинга и подсчета | кусок | 1 | Согласно требованиям пользователя |
| 9 | Соединение оцинкованной трубы | кусок | 1 | Согласно требованиям пользователя |
| 10 | Трансформатор тока | кусок | 1 | Согласно требованиям пользователя |
Оборудование серии BZJ-110/220 специально разработано для защиты от перенапряжения в нейтральной точке трансформаторов на подстанциях 110 кВ и 220 кВ.
Основные моменты:
Разработан в соответствии с DL/T620-1997 и противоаварийными мерами Государственной энергосистемы 2005 года..
Обеспечивает защиту незаземленных нейтральных точек трансформатора..
Доступен в двух конфигурациях:
Решение только с искровым разрядником
Параллельная работа искрового разрядника и разрядника для улучшенной скоординированной защиты.
Гибкая сборка с разъединителем и разрядником , позволяющая использовать ручные или электрические приводы.
Собран на заводе и полностью протестирован перед поставкой, при необходимости можно легко выполнить повторную калибровку на месте.
Компактная конструкция с упрощенной установкой, настройкой и эксплуатацией.
Подходит для эффективно заземленных сетей напряжением 110 и 220 кВ.
Температура окружающей среды: -40℃ ~ +40℃
Высота: ≤ 2000 м
Сейсмостойкость: ≤ 8 градусов
Не содержит легковоспламеняющихся, взрывоопасных или агрессивных сред.
Способен выдерживать внешние климатические условия.
Интегрированная конструкция : объединяет искровой разрядник, трансформатор тока, разъединитель, разрядник, клеммную коробку и опорную раму в одном компактном блоке.
Гибкие схемы защиты : поддержка только искрового разрядника или параллельной защиты искрового разрядника + разрядника.
Надежная работа : все электрические и механические параметры перед поставкой проверяются на заводе.
Простота установки : упрощенная конструкция, удобна для размещения и обслуживания подстанции.
Настраиваемая работа : разъединитель доступен с ручным или электрическим приводом.
Высокая надежность : разработан для предотвращения аварий на заземление и перенапряжения, повышая безопасность подстанции.

| Серийный | номер | Название | Количество | Примечания |
|---|---|---|---|---|
| 1 | Разъединитель GW13-72,5 кВ | набор | 1 | |
| 2 | Подключение медной шины | кусок | 1 | |
| 3 | Грозозащитный разрядник 72,5 кВ | единица | 1 | |
| 4 | Разрядный зазор | набор | 1 | |
| 5 | Поддержка установки | кусок | 2 | Цементный столб или стальной столб |
| 6 | Каркас кузова | кусок | 1 | |
| 7 | Ручной или моторный приводной механизм | единица | 1 | Согласно требованиям пользователя |
| 8 | Прибор мониторинга и подсчета | кусок | 1 | Согласно требованиям пользователя |
| 9 | Соединение оцинкованной трубы | кусок | 1 | Согласно требованиям пользователя |
| 10 | Трансформатор тока | кусок | 1 | Согласно требованиям пользователя |